Sony patenteert AI die PlayStation-games voor je kan uitspelen
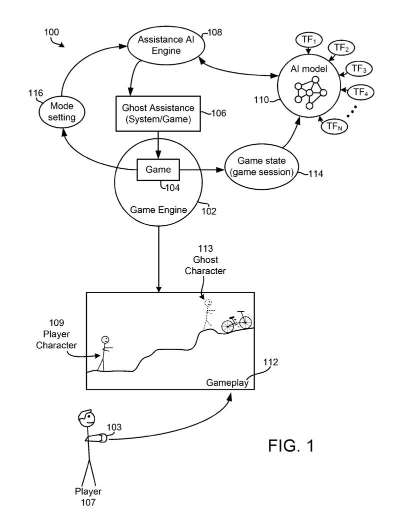
Sony heeft een nieuw patent vastgelegd voor technologie die PlayStation-games automatisch kan laten spelen wanneer een speler vastzit. In de documenten wordt gesproken over een zogenoemde Ghost Player: een door AI aangestuurde “schaduwversie” van de speler die kan tonen hoe een bepaald stuk gespeeld moet worden, of het zelfs volledig kan afronden.
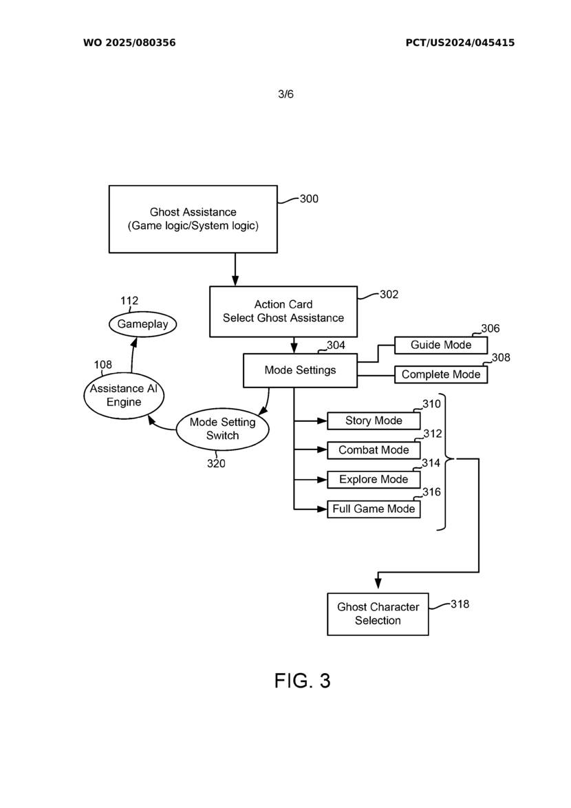
Het patent werd al in september 2024 ingediend, maar kreeg deze week pas een internationale status update via de World Intellectual Property Organization. Concreet zou een speler bijvoorbeeld in een game als Uncharted hulp kunnen oproepen wanneer een puzzel niet lukt. In een Guide Mode demonstreert een AI-versie van het personage hoe je verder raakt, waarna je het zelf opnieuw probeert. In een Complete Mode neemt de AI het volledig over en werkt ze het obstakel voor je af.
Hulpsystemen zijn natuurlijk niet nieuw. Veel games laten je gevechten overslaan, de moeilijkheidsgraad verlagen of bieden hints bij puzzels. Toch is dit patent opvallend omdat het verder gaat dan klassieke tips. De AI zou namelijk getraind worden op bestaande gameplaybeelden, in plaats van op vooraf vastgelegde scripts. Dat maakt het systeem flexibeler en potentieel context gevoeliger dan traditionele oplossingen.
De technologie lijkt een volgende stap te zijn na PS5 Game Help, een functie die bij de lancering van de PlayStation 5 werd geïntroduceerd. Die bood spelers al in-game hulp via kaarten met beelden of video’s, zonder dat je je game hoefde te pauzeren om op je smartphone of laptop een gids te zoeken. Vooral trophy hunters konden dat gemak smaken.
Een patent betekent niet automatisch dat de technologie ook effectief in toekomstige hardware of games zal opduiken. Grote bedrijven registreren al jaren ideeën die nooit het daglicht zien. Wel past dit in een bredere trend: AI-assistenten duiken steeds vaker op in games. Microsoft introduceerde vorig jaar nog Copilot for Gaming, een AI-hulp die spelers begeleidt, installaties uitvoert of context geeft bij hun voortgang.


Tot zover creatief denken en doorzettingsvermogen...
Alles op een zilveren schoteltje tegenwoordig :-/
Geplaatst op 2026-01-06 15:37:22
Dan lopen ze al achter op Nintendo de wii versie van Donkey Kong Country Returns kon dat al. Zonder AI trouwens.
Geplaatst op 2026-01-07 09:45:29